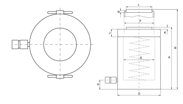
Simson Zylinder mit Sicherungsmutter
Sale!
Artikelnummer:
LNC3050
Zylinder mit Sicherungsmutter
700 bar / 30-1100 ton
Einfachwirkende Zylinder, Lastrückzug mit Sicherungsmutter zum mechanischen Halten von Lasten.
Für den Einsatz im Bauwesen: Brücken-, Gebäude-, Schiffbau, etc.
Durch die Sicherungsmutter werden Lasten von dem Zylinder mechanisch auch über lange Zeit sicher gehalten.
Wir empfehlen für diese Zylinder zum Schutz vor seitlichen Belastungen diewahlweise Lieferung von beweglichen Druckstücken.
Technische Daten
| Modell | Tragkraft (t) | Druck (kN) | Hub (mm) | Ölvolumen (cm³) | Fläche (cm²) | Gewicht (kg) |
|---|---|---|---|---|---|---|
| LNC 3050 | 30 | 303 | 50 | 221 | 44,2 | 9 |
| LNC 30100 | 30 | 303 | 100 | 442 | 44,2 | 12 |
| LNC 30150 | 30 | 303 | 150 | 663 | 44,2 | 15 |
| LNC 30200 | 30 | 303 | 200 | 884 | 44,2 | 18 |
| LNC 30250 | 30 | 303 | 250 | 1.104 | 44,2 | 22 |
| LNC 30300 | 30 | 303 | 300 | 1.325 | 44,2 | 25 |
| LNC 5050 | 51 | 496 | 50 | 354 | 70,9 | 14 |
| LNC 50100 | 51 | 496 | 100 | 709 | 70,9 | 19 |
| LNC 50150 | 51 | 496 | 150 | 1.063 | 70,9 | 25 |
| LNC 50200 | 51 | 496 | 200 | 1.418 | 70,9 | 30 |
| LNC 50250 | 51 | 496 | 250 | 1.772 | 70,9 | 35 |
| LNC 50300 | 51 | 496 | 300 | 2.126 | 70,9 | 40 |
| LNC 13050 | 130 | 1.327 | 50 | 664 | 132,7 | 33 |
| LNC 130100 | 130 | 1.327 | 100 | 1.327 | 132,7 | 40 |
| LNC 130150 | 130 | 1.327 | 150 | 1.991 | 132,7 | 50 |
| LNC 130200 | 130 | 1.327 | 200 | 2.655 | 132,7 | 59 |
| LNC 130250 | 130 | 1.327 | 250 | 3.318 | 132,7 | 69 |
| LNC 130300 | 130 | 1.327 | 300 | 3.982 | 132,7 | 78 |
| LNC 16050 | 160 | 2.011 | 50 | 1.005 | 201,1 | 65 |
| LNC 160100 | 160 | 2.011 | 100 | 3.016 | 201,1 | 90 |
| LNC 160150 | 160 | 2.011 | 150 | 5.027 | 201,1 | 110 |
| LNC 160200 | 160 | 2.011 | 200 | 6.032 | 201,1 | 125 |
| LNC 20050 | 200 | 2.654 | 50 | 4.712 | 314,2 | 134 |
| LNC 200150 | 200 | 2.654 | 150 | 9.425 | 314,2 | 201 |
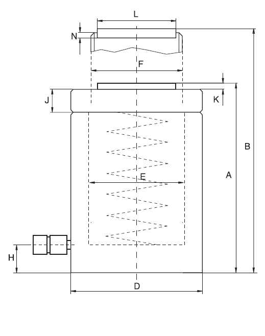
Abmessungen
| Modell | A (mm) | B (mm) | D (mm) | E (mm) | F (mm) | H (mm) | J (mm) | L (mm) | N (mm) |
|---|---|---|---|---|---|---|---|---|---|
| LNC 3050 | 141 | 191 | 100 | 75 | TR 75×4 | 20 | 20 | 50 | 20 |
| LNC 30100 | 191 | 291 | 100 | 75 | TR 75×4 | 20 | 20 | 50 | 20 |
| LNC 30150 | 296 | 396 | 100 | 75 | TR 75×4 | 20 | 20 | 50 | 20 |
| LNC 30200 | 395 | 495 | 100 | 75 | TR 75×4 | 20 | 20 | 50 | 20 |
| LNC 30250 | 405 | 705 | 100 | 75 | TR 75×4 | 20 | 20 | 50 | 20 |
| LNC 30300 | 505 | 905 | 100 | 75 | TR 75×4 | 20 | 20 | 50 | 20 |
| LNC 5050 | 203 | 253 | 125 | 95 | TR 95×4 | 25 | 21 | 50 | 20 |
| LNC 50100 | 261 | 311 | 125 | 95 | TR 95×4 | 25 | 21 | 50 | 20 |
| LNC 50150 | 311 | 361 | 125 | 95 | TR 95×4 | 25 | 21 | 50 | 20 |
| LNC 50200 | 366 | 416 | 125 | 95 | TR 95×4 | 25 | 21 | 50 | 20 |
| LNC 50250 | 366 | 616 | 125 | 95 | TR 95×4 | 25 | 21 | 50 | 20 |
| LNC 50300 | 416 | 716 | 125 | 95 | TR 95×4 | 25 | 21 | 50 | 20 |
| LNC 13050 | 180 | 230 | 170 | 130 | TR 130×6 | 30 | 31 | 71,5 | 20 |
| LNC 130100 | 230 | 280 | 170 | 130 | TR 130×6 | 30 | 31 | 71,5 | 20 |
| LNC 130150 | 285 | 335 | 170 | 130 | TR 130×6 | 30 | 31 | 71,5 | 20 |
| LNC 130200 | 335 | 385 | 170 | 130 | TR 130×6 | 30 | 31 | 71,5 | 20 |
| LNC 130250 | 441 | 441 | 170 | 130 | TR 130×6 | 30 | 31 | 71,5 | 20 |
| LNC 130300 | 441 | 741 | 170 | 130 | TR 130×6 | 30 | 31 | 71,5 | 20 |
| LNC 16050 | 245 | 345 | 210 | 160 | TR 160×6 | 40 | 38 | 94 | 20 |
| LNC 160100 | 345 | 445 | 210 | 160 | TR 160×6 | 40 | 38 | 94 | 20 |
| LNC 160150 | 445 | 545 | 210 | 160 | TR 160×6 | 40 | 38 | 94 | 20 |
| LNC 160200 | 559 | 559 | 210 | 160 | TR 160×6 | 40 | 38 | 94 | 20 |
| LNC 20050 | 382 | 478 | 260 | 200 | TR 200×6 | 50 | 43 | 113 | 25 |
| LNC 200150 | 498 | 798 | 260 | 200 | TR 200×6 | 50 | 43 | 113 | 25 |