McBULL Hebeklemmen, verstellbar
Sale!
Artikelnummer:
CHHKV3000180
Hebeklemmen sind zum horizontalen Heben und Transport von nicht durchbiegenden Stahlblechen und Stahlblechpaketen.
► stabile Konstruktion
► einsetzbar für strukturellen Stahl bis HRC30
► mit Steckbolzen zum schnellen verstellen des Greifbereiches
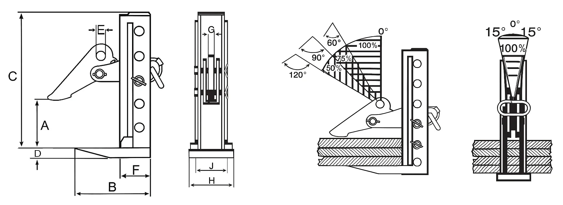
Achtung! Tragfähigkeit bei Schrägstellung - siehe Traglastdiagramm
► diese Hebeklemmen dürfen nur paarweise verwendet werden
Technische Daten
| Artikelnummer | Tragfähigkeit (t) | Greifbereich (mm) | Gewicht (kg) |
|---|---|---|---|
| CHHKV3000180 | 3 | 0–180 | 19 |
| CHHKV4500240 | 4,5 | 0–240 | 26 |
| CHHKV6000240 | 6 | 0–240 | 40 |
| CHHKV8000240 | 8 | 0–240 | 51 |
Abmessungen
| Tragfähigkeit (t) | A (mm) | B (mm) | C (mm) | D (mm) | E (mm) | F (mm) | G (mm) | H (mm) | J (mm) |
|---|---|---|---|---|---|---|---|---|---|
| 3 | –182 | 278 | 360 | 25 | 30 | 103 | 20 | 160 | 70 |
| 4,5 | –242 | 290 | 500 | 25 | 34 | 123 | 20 | 160 | 75 |
| 6 | –242 | 300 | 450 | 30 | 40 | 173 | 22 | 175 | 88 |
| 8 | –242 | 300 | 520 | 60 | 40 | 130 | 25 | 200 | 90 |